Friday February 2026

হটলাইন

সেবা এবং ধাপ

নং শিরোনাম সেবার ধাপ কার্যকলাপ
  
ফসলের উন্নত জাত সম্প্রসারণ দেখুন
কৃষি প্রযুক্তি সংক্রান্ত প্রশিক্ষণ দেখুন
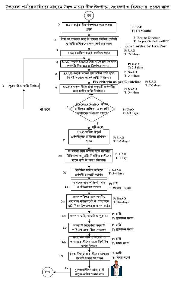
কৃষক পর্যায়ে উন্নতমানের বীজ উৎপাদন,সংরক্ষণ ও বিতরণ দেখুন
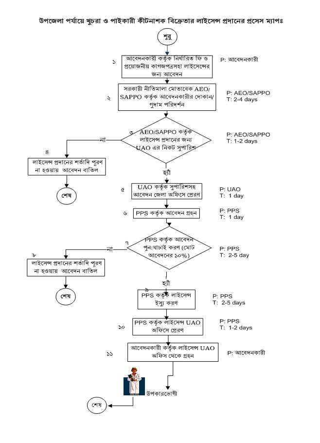
খুচরা ও পাইকারী বালাইনাশক বিক্রয়ের লাইসেন্স দেখুন
সার ডিলার নিয়োগ দেখুন
মাটির স্বাস্থ্য ব্যবস্থাপনা দেখুন
বালাই ব্যবস্থাপনা দেখুন
দেখছেন ১ থেকে ৭ পর্যন্ত, মোট ৭ এন্ট্রি

এক্সেসিবিলিটি

স্ক্রিন রিডার ডাউনলোড করুন